2025-12-04
|
1156
翰科小编发现,2025年11月28日,《关于进一步完善建筑市场监管机制 持续优化建筑市场环境的通知(征求意见稿)》的文件悄然挂网。文件废止时间为2025年12月10日,也就是说征求意见时间为一个月。执行时间应该在2026年初开始 。

征求意见总计九条,总体字数不多,但每一条都够建筑企业和工程人员消化一阵子的。
官方这次的态度非常明确,就是要构建一个“宽进、严管、重处”的新机制 。
以前我们经常说起狼来了,大家听多了可能就有点麻木,可是这次很不一样,这一回,是真的要重新构建整个行业的游戏规则,这份文件炸出的不只是危机,更是机会。
小编把文件里最致命、最关键的几个点找出来,大家自己对照一下,看看是“中招”还是“翻身”。
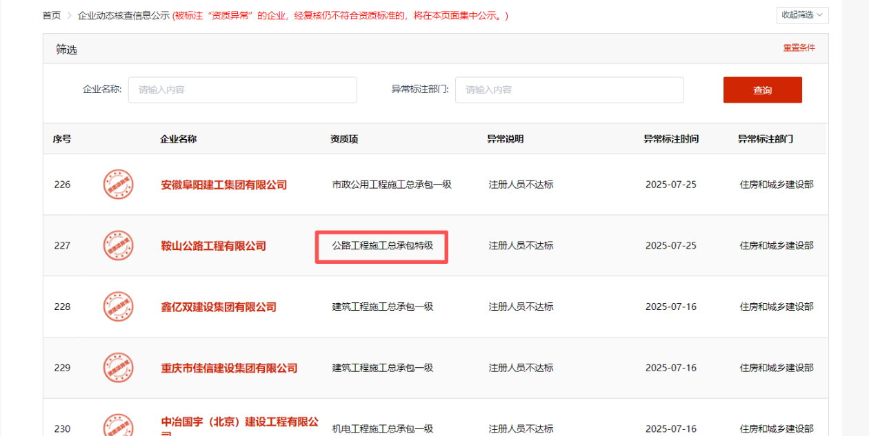
第一,异常标注,全网裸奔
征求意见第一条明确提出,要加大资质动态核查的频次,加大清出力度。

以前很多皮包公司觉得核查是概率问题,查不到就没问题。以后就不一样了,监管平台会一直盯着你。
要是发现企业不符合资质标准,就直接在全国建筑市场监管公共服务平台上把你标注为资质异常的状态。


这就好像给企业贴上了一个封条,一旦被标注,且不说招投标会碰到限制,单单那些出现过转包、违法分包、拖欠工资的企业,更是会被列为重点监管对象。
第二,频繁跳槽?以后没那么容易了
以前很多人觉得,证书在我手里,我想去哪就去哪,一年换三个东家,还能赚三份转注费。
新规一旦落地,这招彻底失效。
文件之中明明白白地写着,在全国平台上去公示注册人员的次数以及注册轨迹,你的职业发展(挂证)路径,在阳光下面看的一清二楚。如下图:2021年初始注册到2025年变更22次,就算5年计,一年也变更4次。




征求意见第三条意见更厉害的是,要是你在1年内变更注册单位2次及以上(注意是包含2次),即便你符合对应的条件,再次申请注册的时候,也不再适用告知承诺制了。(告知承诺是系统比较简单勾选即可,不用提交资料)
这一条是什么意思呢?
之前转注签个字很快就能通过,征求意见实施后,要是你经常性变更,官方就会默认你有问题,到时候,你的社保、劳动合同、工资流水、更有甚的可能是个税,统统都得拿出来接受最严格的实质性审查。
第三,人走证销?系统立马报警
以前有些企业为了保资质,短期聘用几本证书,应付完检查或者办完事,人就撤了。企业虽然此时人员不达标,但只要没人查,就能一直混。
现在不行了。
征求意见提出要建立“预警机制”,只要注册人员申请注销或转出,导致企业资质标准不达标,监管平台立马就会弹出“预警提醒” 。
这就是在逼着企业必须长期、合法地聘用持证人员,而不是搞“短租”。
第三,最狠的一招:一张证,两年锁死!
这条规定简直是“核打击”。
原文只有短短一句话,但杀伤力极大:“注册人员在2年内只能用于1家企业申请住房城乡建设部审批的资质” 。
懂行的都知道这意味着什么。

以往的各企业经常会一证多用,把人才证书先用在A公司办完升级手续,紧接着就用到B公司办理,一本证书,一年能够帮助好几家公司办理资质。
要是这项规定能够施行,你的证书要是用来申请资质,未来两年内,它在“资质申报”这个作用上就会被锁死了。
这直接从根本上废掉了证书的“流动性”!
第四,讨薪“核武器”:钱不到位,我不签字!
聊完“严管”,接下来说点让施工单位热血沸腾的。
新规第七条直接给了一把尚方宝剑:
“建筑企业可以与建设单位在合同中约定,工程进度款支付低于合同约定比例的,建筑企业不在工程竣工验收材料上签字。”

这就狠了。
“签字手续不全的,建设单位不得组织工程竣工验收。”
这意味着什么?
意味着以后甲方要是敢赖进度款,施工方可以直接“合法停工”。我不签字,你的项目就没法验收;没法验收,你就没法备案、没法交付。这直接捏住了甲方的七寸。
此外,针对政府项目长期存在的拖欠款项难题,新规明确指出:“政府和国有投资工程不得以审计机关的审计结论作为工程结算依据” 。
“建设单位不得以未完成决算审计为由,拒绝或拖延办理工程结算和工程款支付” 。
这一方面,简直就是给施工单位解除约束,要是往后再有甲方把审计当作借口来延迟付款,那就直接把文件甩到他面前。
第五,招投标大变天:“低价抢单”行不通了
这几年行业最恶心的是什么?是“饿死同行、累死自己、坑死甲方”的恶意低价中标。
这次新规第四条专门就是专门针对这块:推动建筑工程服务按质择优。
核心就一句话:“提高技术标权重,降低投标报价权重。”

征求意见甚至提出要变革评标规则,就是先评定技术,然后再评估价格。
如果技术方案不过关,团队实力跟不上,连报价的资格都拿不到,这样一来,那些没有真本事、只想靠低价进场搅局的空壳公司,就彻底没机会了。
第六,“评定分离”全面推进:甲方的权利大了,责任也大了
第五条提到了一个很敏感的词:“评定分离” 。

以往是专家评标委员会决定一切,也就是专家打分最高的那个中标,现在要进行改革,专家仅仅负责评审、推荐候选人,而最终定标的权力就回归到招标人(甲方)那里。
这对施工单位意味着什么?
意味着甲方的“话语权”更大了。以后不仅要搞定专家,更要凭真本事(或者其他)让甲方认可你。
当然,为了防止甲方乱来,文件也专门加了句紧箍咒:“不得利用评定分离变相设置地方壁垒” 。
第七,严打“肢解发包”:总包必须说了算
第六条是专门给总包单位撑腰的。
以往有很多强势的甲方,比较喜欢玩肢解发包,把好做且利润高的分项工程单独挑选出来,交给自己的关系户,留给总包的全是难对付的硬骨头。

现在征求意见明确规定了:“建设单位不得将工程肢解发包” 。
同时,也给总包套上了枷锁:“施工总承包单位对全部工程施工活动负总责” 。
无论分包是由谁找来的,只要出现了问题,总包都得承担责任,这其实是迫使总包必须严格管理分包队伍,谁发包谁就负责,别想着推卸责任。
第八,项目经理的“生死状”:一票否决

第二条关于“夯实主体责任”里,有一条针对个人的狠招。
“严格落实质量安全‘一票否决’制” 。
要是出现质量安全事故,或者有违法违规的情况,那就直接对项目负责人施行罚款、停止执业、吊销资格这类惩处。
而且,这些处罚会“向社会公开” 。
工程人员,这就表示项目经理完完全全变成了高危职业,要是出了事,不单工作没了,名声也搞坏了,往后在行业里头基本上就没什么发展的渠道。
最后
看完这份征求意见的所有内容,你会发现住建部这次的思路非常清晰:
一方面,手段极其冷酷。用“异常标注”让那些不合规的企业在全国平台上全网裸奔 ;用“两年锁死”彻底斩断挂证躺赚的想法,让投机者无处遁形。
另一方面,逻辑回归常识。让技术回归技术,让低价滚出市场;让甲方有权定标,也要让甲方按时给钱;让总包有权管理,也要让总包承担责任。
规则越来越细,漏洞越来越少。等到正式稿与细则出台,加上各地方省厅对二建、规划设计注册人员一并纳入管理,建筑企业资质异常的解锁时间变长,人员变更轨迹公示、变更注册二次以上实质审核细化等更严格。
征求意见九条的实施,对于真正干工程的人来说,这也许就是黎明前的最后一道曙光。
把技术练好,把队伍带好,把安全管好。剩下的,就交给新办法去大浪淘沙了。

2026-02
192026-02
192026-02
192026-02
19